Обогрев трубопроводов
В зимних условиях различные трубопроводы подвергаются опасности замерзания. И часто обычная теплоизоляция не спасает ситуацию - необходим дополнительный обогрев труб. Сегодня обогрев трубопроводов чаще всего осуществляется при помощи нагревательных кабелей. Нагревательные кабеля могут устанавливаться как внутрь труб, так и проходить по их наружной стороне. При этом, благодаря использованию специальных термостатов, возможно обеспечить обогрев трубопроводов, выполненных из как металлических, так и из пластиковых труб.
Представляем вашему вниманию систему обогрева при помощи саморегулирующихся нагревательных кабелей Raychem. Обогрев трубопроводов кабелями Raychem намного экономичнее за счет того, что кабель самостоятельно регулирует температуру подогрева и при этом отпадает необходимость использования термостатов. Нагревательная система Raychem обеспечит надежный обогрев трубопроводов и защиту их от появления конденсата.


- Надежность: обогрев трубопроводов от повреждения льдом при замерзании
- Не требует технического обслуживания
Низкое энергопотребление
- FS-A-2X: 10 Вт/м при 5°C
- FS-B-2X: 26 Вт/м при 5°C
- FS-C-2X: 31 Вт/м при 5°C, 22 Вт/м при 40°C
- FS-C10-2X: 10 Вт/м при 5°C

Обогрев трубопроводов целесообразен везде, где есть хотя бы малейший риск его замерзания – на улице, в подвалах, в земле, если глубина залегания не велика и т.д. Кроме того, обогрев труб целесообразно применять там, где возможно появление конденсата, который вредно влияет на надежность материала труб. Причем речь идет не только о водопроводах - необходимо обеспечивать также и обогрев трубопроводов систем канализации, нефтепроводов и т.д.
Обогрев трубопроводов саморегулирующимися кабелями Raychem, в отличие от других систем, позволит предотвратить ваш трубопровод от замерзания или образования конденсата с наименьшими затратами. Во-первых, при использовании кабелей Raychem для того, чтобы организовать обогрев труб, вам понадобится меньшее количество различных устройств. А во-вторых, благодаря саморегуляции, нагревательный кабель не будет зря греть трубу, если отсутствует риск замерзания или образования конденсата, тем самым вы сэкономите электроэнергию.
Руководство по проектированию и комплектующие изделия для обогрева трубопроводов
1. Выбор кабеля

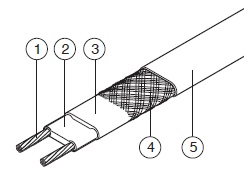
Конструкция
- Медная жила (1,2 мм2)
- Саморегулируемый греющий элемент
- Электроизоляция из модифицированного полиолефина (FS-C-2X: фторополимер)
- Оплетка из луженой меди
- Защитная наружная оболочка из модифицированного полиолефина
Защита трубопроводов от замерзания, макс. рабочая температура 65°C
| FS-A-2X | 10 Вт/м при 5°C |
| FS-B-2X | 26 Вт/м при 5°C |
Защита трубопроводов от замерзания, макс. рабочая температура 95°C и поддержание температуры для металлических сливных труб с жирными сточными водами
| FS-C-2X | 31 Вт/м при 5°C |
| 22 Вт/м при 40°C |
Выбор теплоизоляции
Защита трубопроводов от замерзания для температур до 20°C
| Диаметр трубы, мм | ||||||||||||
| толщина теплоизоляции | 15 | 22 | 28 | 35 | 42 | 54 | 67 | 76 | 108 | 125 | 150 | 200 |
| 10 мм | FS-A-2X | FS-B-2X | FS-B-2X | FS-B-2X | FS-B-2X | FS-B-2X | FS-B-2X | |||||
| 15 мм | FS-A-2X | FS-A-2X | FS-A-2X | FS-B-2X | FS-B-2X | FS-B-2X | FS-B-2X | FS-B-2X | FS-B-2X | |||
| 20 мм | FS-A-2X | FS-A-2X | FS-A-2X | FS-A-2X | FS-A-2X | FS-B-2X | FS-B-2X | FS-B-2X | FS-B-2X | FS-B-2X | ||
| 25 мм | FS-A-2X | FS-A-2X | FS-A-2X | FS-A-2X | FS-A-2X | FS-A-2X | FS-B-2X | FS-B-2X | FS-B-2X | FS-B-2X | FS-B-2X | |
| 30 мм | FS-A-2X | FS-A-2X | FS-A-2X | FS-A-2X | FS-A-2X | FS-A-2X | FS-A-2X | FS-B-2X | FS-B-2X | FS-B-2X | FS-B-2X | FS-B-2X |
| 40 мм | FS-A-2X | FS-A-2X | FS-A-2X | FS-A-2X | FS-A-2X | FS-A-2X | FS-A-2X | FS-A-2X | FS-B-2X | FS-B-2X | FS-B-2X | FS-B-2X |
| 50 мм | FS-A-2X | FS-A-2X | FS-A-2X | FS-A-2X | FS-A-2X | FS-A-2X | FS-A-2X | FS-A-2X | FS-A-2X | FS-B-2X | FS-B-2X | FS-B-2X |
Греющие кабели для обогрева трубопроводов FS-A-2X и FS-B-2X подходят для труб из любого материала (медь, нерж. сталь, пластик, композитные материалы или трубы с резьбой) без ограничений. Для пластиковых труб необходимо использовать алюминиевую крепежную ленту ATE-180. Греющие кабели в системах обогрева труб следует закрывать крепежной лентой по всей длине кабеля. Коэффициент теплопроводности теплоизоляции равен 0,035 Вт/(м·K) или ниже.
Важное замечание: греющие кабели для обогрева трубопроводов с фторополимерной защитной оболочкой (например, BTV2-CT) должны использоваться для солвентосодержащей, смешанной и/или битумной теплоизоляции.
Поддержание температуры (40°C) труб с жирными сточными водами
| Диаметр трубы, мм | ||||||||
| толщина теплоизоляции | 40 | 50 | 65 | 80 | 100 | 125 | 150 | 200 |
| -20° | 25 | 30 | 40 | 50 | 60 | 80 | 100 | 130 |
| 0° | 20 | 20 | 25 | 30 | 40 | 50 | 60 | 80 |
Кабели FS-C-2X могут использоваться только для обогрева труб с допустимой воздействия 90°C и выше. Для пластиковых труб необходимо использовать термостат с регулированием по температуре обогреваемой поверхности (типа AT-TS-14 или RAYSTAT-CONTROL-10) с уставкой примерно 40°C.
2. Расчет длины греющего кабеля для обогрева трубопровода
- Греющий кабель монтируется на трубопровод прямыми участками
- На коротких отводах (до 3 м) греющий кабель может монтироваться петлей вместо Т-разветвления
Общая длина обогреваемой трубы
+ около 0,3 м на подвод питания
+ около 1,0 м на разветвление
+ около 1,2 м на узел разветвления на 4 цепи
При наличии дополнительных источников теплопотерь (задвижки более 2'' и трубные опор без теплоизоляции) необходима дополнительная длина кабеля (около 1 м)
= необходимая длина греющего кабеля
3. Устройства электрической защиты
- Количество и номинал предохранителей определяется общей длиной электрической защиты греющего кабеля
- Необходимо использовать УЗО (устройство защитного отключения при утечках тока на землю) на 30 мА; макс. 500 м греющего кабеля на УЗО
- Подвод питания к греющим кабелям должен выполняться в соответствии с местными стандартами и техническими нормами
- Подвод питания к греющим кабелям должен производиться аттестованным монтажником
- Необходимо использовать автоматические выключатели типа «С»
Максимальная длина цепи обогрева трубопровода рассчитана исходя из минимальной температуры пуска 0°C, 230 В переменного тока.
| FS-A-2X | FS-B-2X | FS-C-2X | |
| 4 A | 45 м | 25 м | 20 м |
| 6 A | 70 м | 35 м | 30 м |
| 10 A | 110 м | 65 м | 55 м |
| 13 A | 130 м | 85 м | 70 м |
| 16 A | 150 м | 105 м | 90 м |