Обогрев кровли, водостоков и крыш


Raychem – общепризнаный лидер в области производства нагревательных кабелей и комплектующих для систем обогрева кровли.
- Надежная защита кровли от повреждения льдом
- Не происходит образования сосулек или схода снега с крыш
- Обеспечивает защиту зданий и людей
- Не требует технического обслуживания
Противообледенительная система обогрева крыш и элементов кровли, часто называемая «Крыша без сосулек» или «Теплая крыша» решает следующие частные задачи электрообогрева:
- Обогрев кровли
- Обогрев крыш
- Обогрев водостоков
- Обогрев водосливов
- Обогрев водосточных и водосливных желобов
- Обогрев водосточных воронок
- Обогрев дренажных лотков
- Обогрев участков кровли
- Обогрев края кровли
- Обогрев снегозадержателей
- Обогрев карниза
- Защита крыши от сосулек и льда
- Защита от сосулек фасада, желобов, покрытия кровли
- Обогрев капельника
- Обогрев ендов
- Обогрев водометов
- Обогрев водосточных и водосливных труб
- Обогрев мансардных окон
- Обеспечение пути талой воде, защита кровли и фасада здания от наледи и льда
- Антилед или противооблединение для участков кровли
- Антиобледенение для любых поверхностей кровель и площадок
- Защита от наледи
Наши кабели успешно работают на кровлях Москвы и России в течении более 10 лет, вызывая положительные отзывы служб эксплуатации защиты. Наши системы успешно осуществляют обогрев крыш от сосулек и наледи на зданиях Московского Дома Музыки, Большого Кремлевского Дворца, зданиях сотен музеев и административных зданий, более десяти тысяч частных домов и коттеджей.



Очень важно, чтобы элементы кабельной системы обогрева (КСО) обеспечивали сопровождение талой воды с крыши до земли и дальше в систему дренажа. Обогрев дренажных систем также решается кабельным обогревом.
Специалисты ООО «Самрег» имеют огромный опыт в проектировании, поставке и монтаже систем антиобледенения и обогрева крыш с применением самого надежного саморегулирующегося греющего кабеля GM2X и GM2X-C, а также современных резистивных кабелей, специально разработанных для обогрева кровли.
Снеготаялки на крыше – задача создания на плоской обслуживаемой кровле зон свободных от снега и льда – легко решается саморегулируемым кабелем EM2-XR, ЕМ2-R, с помощью этих греющих лент можно создавать зоны с удельной расчетной мощностью электрообогрева до 600 Вт/м, что обеспечивает интенсивное таяние снега и льда в обогреваемых зонах.
Обычно любая антиобледенительная система для обогрева кровли – система Ice Stop, Gutter gard, Gutter melt, Теплоскат, Теплый скат, Теплая крыша и т.п. состоит из следующих элементов:
- Hагревательная часть - нагревательный кабель, концевые и соединительные заделки, система крепежа кабеля на кровле и водостоках
- Cистема электроснабжения - трасса электропитания, система ее крепежа, коробки и муфты для подключения трассы к греющей части
- Щит управления и защиты
- Терморегулятор или метеостанция с метеодатчиками
Отличительные особенности систем Антилед с применением нагревателей следующие:
- надежность и длительный срок службы качество греющих кабелей (это заметно даже при визуальном осмотре и сравнении греющих элементов)
- фирменные комплектующие, позволяющие монтировать системы без повреждений кровельного покрытия и водостоков
- наличие специализированного сервисного центра ООО «Самрег», осуществляющего полный комплекс работ по греющему кабелю для удобства Заказчика или Дилера, в том числе монтаж, проектирование, обучение, сервисное обслуживание и ремонт случайных повреждений системы, проведение электрических и тепловых замеров.
Низкое энергопотребление при обогреве кровли

Саморегулирующиеся кабели для обогрева кровли и водостоков


Защита водостоков и крыш от замерзания
Руководство по проектированию и монтажу обогрева кровли и комплектующие изделия
1. Выбор саморегулирующего кабеля для обогрева кровли и водостоков

Саморегулируемый кабель для:
- водосточных желобов
- водосточных труб
- обогрев крыш
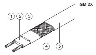
Конструкция:
- Медная жила (1,2 мм2)
- Саморегулируемый греющий элемент
- Электроизоляция из модифицированного полиолефина
- Оплетка из луженой меди
- Защитная наружная оболочка из модифицированного полиолефина
Важное замечание: при прокладке по асфальту, битуму, рубероиду и т.п. необходимо использовать греющий кабель в оболочке из фторполимера (8BTV-2-CT)
2. Расчет длины греющего кабеля для обогрева кровли и водостоков
- Греющий кабель монтируется в водосточный желоб прямыми участками кабеля
- Длина греющего кабеля должна быть скорректирована в соответствии с расположением водосточных желобов и географическим местоположением кровли
- Широкие или прямоугольные желоба и парапеты могут потребовать монтажа греющего кабеля в несколько ниток
Длина водосточного желоба
+ длина водосточной трубы
+ 1 м на подвод питания
+ 1 м в почве (макс. глубина промерзания)
= необходимая длина греющего кабеля
3. Устройства электрической защиты обогрева кровли
- Количество и номинал автоматических выключателей определяется общей длиной греющего кабеля
- Необходимо использовать УЗО (устройство защитного отключения при утечках тока на землю) на 30 мА; макс. 500 м греющего кабеля на УЗО
- Подвод питания к греющим кабелям должен выполняться в соответствии с местными стандартами и техническими нормами
- Подвод питания к греющим кабелям должен производиться аттестованным монтажником
- Необходимо использовать автоматические выключатели типа «С»
Максимальная длина цепи обогрева кровли рассчитана исходя из минимальной температуры пуска -10 °C, 230 В переменного тока.
| GM-2X | GM-2X-C | 8BTV-2-CT | |
| 6 A | 25 м | 15 м | 25 м |
| 10 А | 40 м | 25 м | 40 м |
| 13 А | 50 м | 35 м | 50 м |
| 16 А | 60 м | 40 м | 60 м |
| 20 А | 80 м | 50 м | 80 м |